革新的な機能を備えた一連の携帯電話であるLGのExplorerプロジェクトは、ダブルT字型スクリーンを備えた最初のLG Wingに次ぐ2番目のモデルに向けて進んでいる。2番目の携帯電話は、ロール式携帯電話であるLG Rollableになるだろうと述べた。いくつかの技術的特徴はすでにわかっている画面です。
LGは2020年にスマートフォンの分野でリスクを取ることを選択したが、その最も特徴的なファミリーである「G」と「V」のリニューアルを中止したのも無駄ではなかった。その代わりに、彼はバランスの取れたLGベルベットとリスクのあるLGウィングを選択しました。さらに、その革新的な精神は 2021 年中も継続し、2 つの携帯電話が予想されており、そのうちの 1 つは革新的です: LG Rollable と LG Rainbow 。漏れの機械はすでに作動しています。
ロール可能スクリーン: 7.4 インチから 6.8 インチまで

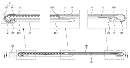
LG は、LG Wing のプレゼンテーションの最後に、巻き取れる携帯電話をすでに発表していました。これは、 TCLが2020年のMWCの枠組み内で示したプロトタイプに似ていると予想されている。つまり、「通常の」寸法のスクリーンで、一方の端から伸ばすと(自動機構がある可能性がある)、より一定のサイズと比率に伸びる。タブレットの代表的なもの。このようにして、電話を使用してさまざまなタスクを同時に実行したり、単により広い便利な面を楽しんだりすることが可能になります。
LG Rollable の将来の機能をリークした韓国のメディアETNews によると、携帯電話には当初の 6.8 インチから 7.4 インチまで伸びる、巻き取り可能な OLED スクリーンが搭載されるだろうと述べています。情報源によると、携帯電話は薄くて軽くなりますが、パネル比率は無視します。そして、それは通常の条件下でテストされようとしている。LGはこれらのテストを12月末か2021年1月初めに実施するだろう。結果に応じて、ブランドは発売日を提案するだろう。リークによれば、それは常に2021 年の前半に見つかるだろう。
LG Rollableに加えて、この韓国のメーカーは3番目の携帯電話も開発中ですが、これは技術革新の点でそれほど積極的ではありません。LG RainbowはLG Velvetの後継として提案されています。これは最も「プレミアム」なセグメントをターゲットにしており、 Snapdragon 888を搭載し、Galaxy Noteのようなスタイラスの搭載も検討されている。 2021年上半期にも発表される予定だ。
経由 | Android のヘッドライン