噂が強まり始めるとき、それは通常、携帯電話が近づいていることを意味します。最も期待されているデバイスの 1 つですが、まだほとんどわかっていませんが、 Samsung Galaxy Xです。これは、フレキシブル スクリーンを備えた最初のデバイスとなるものの仮の名前です。
サムスン自身のCEOはすでに、この技術を搭載したデバイスを2018年に発表することを認めており、これはGalaxyファミリーの新たなラインナップを開始するスマートフォンとなる。
SM-G888N0は私たちが期待していたフレキシブルスクリーンを備えた携帯電話です
私たちは、 モデル SM-G888N0について知るさまざまな特許や記録を見てきました。これは、Samsung が既知の範囲に対して通常使用する番号とは異なります。このデバイスは、スマートフォンと折りたためる 7 インチのタブレットの間のハイブリッド カテゴリに分類されます。最近、 同様のものを提供することを目的とした ZTE Axon M を目にしましたが、違いは、この Galaxy X には 2 つの別々のスクリーンではなく、フレキシブル スクリーンが付属することです。

数週間前、私たちは予想される銀河の最初の画像を目にしました。
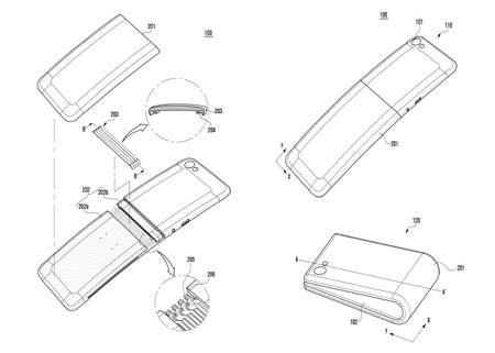
このファイルには、フレキシブル電子デバイスのさまざまな画像が含まれています。画面は 1 つですが、クラムシェル モバイル スタイルのように折りたためる機構が搭載されています。小さな磁力により、電話機は閉じたままになります。

スクリーンには十分な柔軟性が必要であり、破損を起こさないように機構があまり初歩的ではないため、技術的な難易度は非常に高いです。
もう 1 つの興味深い詳細は、この閉鎖機構がデバイスの任意の高さに配置でき、必ずしも中央に配置される必要はないことです。これにより、画面に表示したい内容に適応させることができます。

ギャラクシー原則として2018年末まで延期すべきではない。
非常にリスクが高いため、Galaxy S9 と同じレベルであるとは考えていませんが、間違いなく、近いうちに詳細をお知らせできるプロジェクトであることは間違いありません。
経由 | ZDnet
ザタカ Android | フレキシブルで折りたためる携帯電話:延期され続ける技術進化、2018 年に向けて