LG Rollable: ロール可能な画面を備えた携帯電話をビデオで見ることができます

LGは、 CES 2021で、かねてから噂されていたプロジェクト、つまり同社初の巻き取れる携帯電話を発表した。同社はLG Wingを正式に発表した後も、全く異なる形式の提案に注力し続けている。

この場合、LG Rollable は自動的に巻き上げられ、従来のフォーム ファクターから、より大きな画面を備えた幅の広い携帯電話に変わります。この携帯電話はビデオで数秒しか公開されていませんが、パネルをデバイスの内側に巻き上げることができるシステムを備えています。

現時点で最も異なる携帯電話の 1 つ

これまでのところ、LG の最も印象的なプロジェクトは、すでに正式に販売されている二重十字型の画面を備えたデバイスである Wing です。 CES 2021の枠組みを利用して、 LGはLG rollableの小さなクリップを披露した。LG rollableは、内側に巻いて広げてより大きなパネルを提供する奇妙な端末だ。

LG Rollable は、これまで見てきた折りたたみ式や他の提案とは異なります。巻き上げたとき、少なくとも前面では、完全に通常のデバイスのように見えます。

具体的には、 以前にリークされたように、端末の画面の対角線は巻き上げた状態で6.4インチ、広げた状態では7.4インチです。パネルの端は真っ直ぐで、現時点では残りのハードウェアに関するニュースはありません

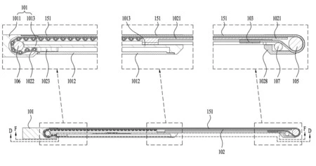
このLG Rollableからローリングシステムが少し前にリークされました。

LGが公開した短いビデオでは、フレキシブルOLEDパネルが巻き上げられる様子が見られます。一部の折りたたみ式携帯電話とは異なり、 LG Rollable は折りたたむと標準的な携帯電話のように見え、他の携帯電話と同様のフォーム ファクターを備えています。

パネルを内側から展開すると携帯電話の幅が広がるため、広げると小さなタブレットのように見えます。現時点では、 LGはこの携帯電話に関する詳細情報を明らかにしていませんし、公式プレゼンテーションを見ることができるときにもテーブルに載せていません。

詳細情報 | LG

LG Rollable: ロール可能な画面を備えた携帯電話をビデオで見ることができます・関連動画